
溫度計套管-錐形法蘭式簡介
溫度計套管-錐形法蘭式是由不銹鋼或其它材料的法蘭和不銹鋼錐形圓棒焊接而制成,預先安裝在不便拆卸的有下法蘭的管道或其它裝置上,不僅能起到抵御測量介質的壓力、流速和腐蝕作用,還可以保護測溫元件和在線式更換測溫元件。一般和上海自動化儀表三廠熱電偶、熱電阻、雙金屬溫度計配套使用在空氣、液體、蒸汽等介質中。
溫度計套管-錐形法蘭式主要技術參數
◆耐溫范圍:0-600℃
◆套管形式:整體錐形套管焊接式
◆套管材質:不銹鋼304,321,316等
◆套管耐壓:小于或等于10MPa
◆套管耐流速:小于或等于80米/秒
◆適用范圍:適用于熱電偶、熱電阻、雙金屬溫度計或其它
◆安裝方式:法蘭式
溫度計套管安裝圖片
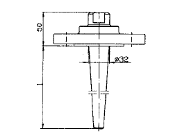
◆溫度計套管-錐形法蘭式
l=75-300mm
錐形套管Φ32-Φ18mm,法蘭根據需要



客服1