
WZP-3312A活動法蘭防水接線盒引進型熱電阻簡介
工業用鉑熱電阻作為溫度測量的變送器,通常用來和顯示、記錄、調節儀表配套,上海自動化儀表三廠生產的WZP-3312A活動法蘭防水接線盒熱電阻采用引進測溫元件,能直接測量各種生產過程中從-200℃~500℃范圍內的液體、蒸汽和氣體介質以及固體的表面溫度。因其具有良好的電輸出性能,所以可為顯示儀、記錄儀、調節儀、掃描儀、數據記錄儀以及電腦提供精確的溫度變化輸入信號。
WZP-3312A活動法蘭防水接線盒引進型熱電阻主要技術參數
◆測量范圍:-200~500℃
◆分度號:Pt100
◆精度等級:A級 ±(0.15℃+0.002|t|),B級 ±(0.30℃+0.005|t|)
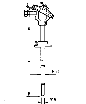
◆保護管直徑:Φ8-12變徑套管(特殊外徑請注明)
◆保護管材質:不銹鋼304,321,316,其它材質須注明
◆熱電阻接線:三線制接線,四線制接線。
◆熱響應時間:T0.5≤45S(在溫度出現階躍變化時,熱電阻的輸出變化至相當于該變化的50%,所需要的時間稱為熱響應時間,用T0.5表示)。
◆熱阻阻公稱壓力:一般是指在室溫情況下保護管所能承受的靜態外壓而不破裂。實際上,容許工作壓力不僅與保護管材料、直徑壁厚有關,還與其結構形式,安裝方法,置入深度以及被測介質的流速和種類等有關。
◆熱電阻最小置入深度:應不小于其保護管外徑的5倍(特殊產品例外)。
◆熱電阻自熱影響:通過熱電阻中測量電流5mA時,測得的電阻增量換算成溫度值應不大于0.30℃。
◆熱電阻絕緣電阻:常溫絕緣電阻的試驗電壓可取直流10~100V任意值,環境溫度在15~35℃范圍內,相對濕度應不大于80%。常溫絕緣電阻值應不小于100MΩ。
◆執行標準:JB/T8622-1997標準。
引進型熱電阻結構原理
鉑電阻是一種溫度傳感器,它是利用鉑絲在溫度變化時自身電阻也隨著變化的特性來測量溫度的,鉑電阻是由感溫元件、不銹鋼外保護管、接線盒以及各種用途的固定裝置組成,有雙支和單支元件兩種規格,雙支鉑電阻可以同時輸出二組相同電阻信號供使用,不銹鋼保護管不但具有抗腐蝕性能,而且具有足夠的機械強度,保證鉑電阻能安全地使用在各種場合。
引進型熱電阻安裝圖片
◆WZP-3312活動法蘭防水接線盒引進型熱電阻(法蘭外徑70 中心距54)



客服1